
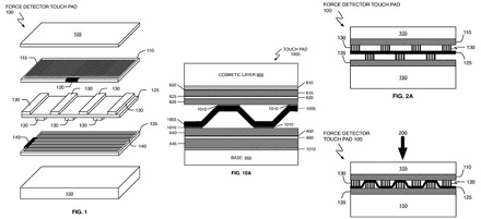
O pessoal da Appleinsider descobriu uma nova patente da Apple. Desta vez é uma maneira de medir a pressão dos dedos e com isso ter mais um tipo de controle tanto para telas sensíveis como para os touchpads nos Powerbooks. Lembrem que de patente em patente eles chegaram ao número absurdo de 200 só para o iPhone.
Este mesmo tipo de sensibilidade, mas usando outro mecanismo, já esta presente nos tablets da Wacom.
Deixe um comentário